BQ79616 16節串聯電池監測器TI
發布時間:2024-09-05 09:33:52 瀏覽:2154
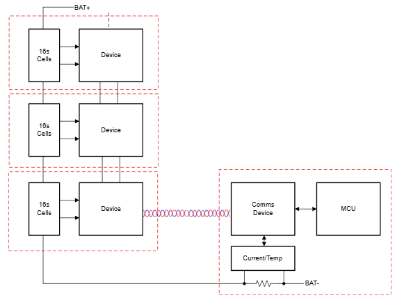
BQ79616 是TI推出的一款16節串聯電池監測器,專為高壓電池管理系統設計,適用于混合動力和電動汽車(HEV/EV)的動力總成系統。該器件集成了高精度的電池電壓測量、電池均衡和硬件保護功能,能夠提供精確的電池狀態監控和管理。
該器件的密封設計支持多種通信選項,便于用戶計算電池狀態(SOC),并包括溫度差分自動調整和恢復能力,以避免潛在的異常條件。

特性
1. 高精度:BQ79616 提供 ±1.5 mV 的 ADC 精度,確保電池電壓測量的準確性。
2. 快速測量:能夠在 128 μs 內完成所有電池通道的高精度電壓測量。
3. 先進技術:集成后 ADC 可配置數字低通濾波器和紅外通信功能,增強了數據處理的靈活性和通信能力。
4. 電池均衡:支持內部或外部電池均衡,最大可處理 240mA 的均衡電流,并具備自動停靠和恢復控制功能。
5. 隔離系統通信:采用環形架構,通過通信中繼器實現信息的有效傳輸。
6. 主機控制和通訊:支持 UART/SPI 主機接口,可與 TI 的 BQ79600 通信橋接器配合使用,內置 SPI 控制器。
應用
BQ79616 主要應用于電池管理系統(BMS),特別是在混合動力和電動動力總成系統中,以及帶有電池管理系統的儲能電池組。
封裝信息
- 型號:BQ79616
- 封裝:HTQFP(64 引腳)
- 尺寸:10.00mm x 10.00mm
上一篇: HFBM075100C高頻巴倫適配器iNRCORE
下一篇: Tillotson賽車化油器
推薦資訊
RECOM RPX-1.5Q 是一款符合 AEC-Q100 標準的車規級降壓轉換器模塊,采用緊湊型 3 mm x 5 mm x 1.6 mm QFN 封裝,適用于汽車電子和高可靠性應用。其輸入電壓范圍為 4 VDC 至 36 VDC,輸出電壓范圍為 0.8 VDC 至 30 VDC,最大輸出電流為 1.5 A,工作溫度范圍為 -40°C 至 +125°C,具備短路保護、過流保護、過溫保護和欠壓鎖定等多種保護功能,并支持使能、電源良好、軟啟動和同步功能,廣泛應用于汽車電子系統、工業控制系統和高可靠性嵌入式設備。
COSEL BRDS系列是高性能非隔離DC-DC轉換器,采用Robust控制技術實現快速瞬態響應,輸入電壓4.5-14V,輸出電流40-150A,支持遠程開關、Power Good信號和PMBus編程(含裕量調節/遙測),集成過流/過熱保護及啟動時序控制,專為通信設備、工業自動化和服務器等分布式電源系統設計。
在線留言